| .22 Long Rifle (.22 LR) | ||||||||||||||||||||||||
|---|---|---|---|---|---|---|---|---|---|---|---|---|---|---|---|---|---|---|---|---|---|---|---|---|
![]() .22 Long Rifle – subsonic hollow point (left), standard velocity (center), hyper-velocity hollow point (right) | ||||||||||||||||||||||||
| Type | Rifle | |||||||||||||||||||||||
| Place of origin | United States | |||||||||||||||||||||||
| Production history | ||||||||||||||||||||||||
| Designer | J. Stevens Arms & Tool Company | |||||||||||||||||||||||
| Designed | 1887 | |||||||||||||||||||||||
| Produced | 1887–present | |||||||||||||||||||||||
| Specifications | ||||||||||||||||||||||||
| Parent case | .22 Long[1] | |||||||||||||||||||||||
| Case type | Rimmed, straight[1] | |||||||||||||||||||||||
| Bullet diameter | .223 in (5.7 mm) - .2255 in (5.73 mm)[1] | |||||||||||||||||||||||
| Land diameter | .212 in (5.4 mm) | |||||||||||||||||||||||
| Neck diameter | .226 in (5.7 mm)[1] | |||||||||||||||||||||||
| Base diameter | .226 in (5.7 mm)[1] | |||||||||||||||||||||||
| Rim diameter | .278 in (7.1 mm)[1] | |||||||||||||||||||||||
| Rim thickness | .043 in (1.1 mm)[1] | |||||||||||||||||||||||
| Case length | .613 in (15.6 mm)[1] | |||||||||||||||||||||||
| Overall length | 1.000 in (25.4 mm)[1] | |||||||||||||||||||||||
| Rifling twist | 1:16"[1] | |||||||||||||||||||||||
| Primer type | Rimfire[1] | |||||||||||||||||||||||
| Maximum pressure | 24,000 psi (170 MPa) | |||||||||||||||||||||||
| Ballistic performance | ||||||||||||||||||||||||
| ||||||||||||||||||||||||
| Test barrel length: 18.5 in (470 mm) Source(s): [2][3] | ||||||||||||||||||||||||
The .22 Long Rifle or simply .22 LR or 22 (metric designation: 5.6×15mmR)[4][5] is a long-established variety of .22 caliber rimfire ammunition originating from the United States. It is used in a wide range of rifles, pistols, revolvers, and submachine guns.
In terms of units sold, it is by far the most common ammunition in the world today. Common uses include hunting and shooting sports. Ammunition produced in .22 Long Rifle is effective at short ranges, has little recoil, and is cheap to purchase. These qualities make it ideal for plinking and marksmanship training.
History
American firearms manufacturer J. Stevens Arms & Tool Company introduced the .22 Long Rifle cartridge in 1887.[6][7] The round owes its origin to the .22 BB Cap of 1845 and the .22 Short of 1857. It combined the case of the .22 Long of 1871 with a 40-grain (2.6 g) bullet, giving it a longer overall length, a higher muzzle velocity and superior performance as a hunting and target round, rendering the .22 Extra Long cartridges obsolete. The .22 LR uses a heeled bullet, which means that the bullet is the same diameter as the case, and has a narrower "heel" portion that fits in the case. It is one of the few cartridges that are accepted by a large variety of rifles and handguns.
Popularity
The .22 LR cartridge is popular with both novice shooters and experts. Its minimal recoil and relatively low noise make it an ideal cartridge for recreational shooting, small-game hunting, and pest control. .22 LR cadet rifles are commonly used by military cadets and others for basic firearms and marksmanship training. It is used by the Boy Scouts of America for the rifle shooting merit badge.[8]
The low recoil of the cartridge makes it ideal for introductory firearms courses. Novice shooters can be surprised or frightened by the noise and recoil of more powerful rounds. Beginners shooting firearms beyond their comfort level frequently develop a habit of flinching in an attempt to counter anticipated recoil. The resulting habit impedes correct posture and follow-through at the most critical phase of the shot and is difficult to correct. With high recoil eliminated, other errors in marksmanship technique are easier to identify and correct.
Available for this round are AR-15 upper receivers and M1911 slide assemblies. Many handgun manufacturers have an upper pistol conversion kit to make it shoot .22 LR ammunition. These conversions allow shooters to practice inexpensively while retaining the handling characteristics of their chosen firearms (with reduced recoil and muzzle blast). Additionally, .22 LR cartridge conversion kits allow practice at indoor ranges which prohibit high-power firearms. Owners of guns that use gas systems, such as AR-15 sport style rifles, normally avoid firing non-plated .22 LR cartridge ammunition, as the use of non-plated ammunition may cause lead-fouling of the gas-port inside the barrel and costly gunsmithing procedures. This can usually be mitigated by swapping the conversion kit for the standard bolt carrier group, and firing several full-powered rounds to clear the gas port and tube of any accumulated lead fouling. While not 100% effective, the extremely hot incandescent gasses produced by centerfire rifle ammunition will help to clear any lead fouling from the .22 LR ammunition.
A wide variety of .22 LR ammunition is available commercially, and the available ammunition varies widely both in price and performance. Bullet weights among commercially available ammunition range from 20 to 60 grains (1.3 to 3.9 g), and velocities vary from 575 to 1,750 ft/s (175 to 533 m/s). .22 LR is the least costly cartridge ammunition available.[9] Promotional loads for plinking can be purchased in bulk for significantly less cost than precision target rounds. The low cost of ammunition has a substantial effect on the popularity of the .22 LR. For this reason, rimfire cartridges are commonly used for target practice.
.22 LR cartridges are commonly packaged in boxes of 50 or 100 rounds, and are often sold by the 'brick', a carton containing either 10 boxes of 50 rounds or loose cartridges totaling 500 rounds, or the 'case' containing 10 bricks totaling 5,000 rounds. Annual production is estimated by some at 2–2.5 billion rounds.[10][11] The NSSF estimates that a large percentage of the US production of 10 billion cartridges is composed of .22 LR.[12] Despite the high production figures there have occasionally been shortages of .22 LR cartridge in the contiguous United States, most notably during the U.S. ammunition shortage of the late 2000s and early 2010s.
Performance

The .22 LR is effective to 150 yd (140 m), though practical ranges tend to be less. After 150 yd, the ballistics of the round are such that it will be difficult to compensate for the large "drop". The relatively short effective range, low report, and light recoil have made it a favorite for use as a target-practice cartridge. The accuracy of the cartridge is good, but not exceptional; various cartridges are capable of the same or better accuracy. A contributing factor in rifles is the transition of even a high-velocity cartridge projectile from supersonic to subsonic within 100 yd (91 m). As the bullet slows, the shock wave caused by supersonic travel overtakes the bullet and can disrupt its flight path, causing minor but measurable inaccuracies.
When zeroed for 100 yards (91 m), the arc-trajectory of the standard high-velocity .22 LR with a 40 gr (2.6 g) bullet has a 2.7-inch (69 mm) rise at 50 yards (46 m), and a 10.8-inch (27 cm) drop at 150 yards (140 m).[13] A .22 LR rifle needs to be zeroed for 75 yards (69 m) to avoid overshooting small animals like squirrels at intermediate distances.[13]
As a hunting cartridge, rimfires are mainly used to kill small game up to the size of coyotes.[14] Although proper shot placement can kill larger animals such as deer or hog,[15] it is not recommended because its low power may not guarantee a humane kill.[16] In 2013, an elephant was killed by multiple shots from a .22 LR rifle.[17]
Because a .22 LR bullet is less powerful than larger cartridges, its danger to humans is often underestimated. In fact, a .22 LR bullet is easily capable of killing or injuring humans. Even after flying 400 yards (370 m), a .22 bullet is still traveling at about 500 ft/s (150 m/s). Ricochets are more common in .22 LR[18] projectiles than for more powerful cartridges as the combination of unjacketed lead and moderate velocities allows the projectile to deflect – not penetrate or disintegrate – when hitting hard objects at a glancing angle. A .22 LR bullet can ricochet off the surface of water at a low angle of aim. Severe injury may result to a person or object in the line of fire on the opposite shore, several hundred yards away.[19] A .22 LR bullet is capable of traveling 2,000 yards (1,800 m), which is more than 1 mile (1.6 km).[20]
Rimfire bullets are generally either plain lead with a wax coating (for standard-velocity loads) or plated with copper or gilding metal (for high-velocity or hyper-velocity loads). The thin copper layer on plated bullet functions as a lubricant reducing friction between the bullet and the barrel, thus reducing barrel wear. Plating also prevents oxidation of the lead bullet. Lead tends to oxidize if stored for long periods. On a plain lead bullet, oxide on the bullet's surface can increase its diameter enough to either prevent insertion of the cartridge into the chamber, or – with high velocity rounds – cause dangerously high pressures in the barrel, potentially rupturing the cartridge case and injuring the shooter; for that reason, standard and subsonic cartridges usually use a wax lubricant on lead bullets.
Variants
The variety of .22 LR loads are often divided into four distinct categories, based on nominal velocity:
- Subsonic-velocity: which also includes "target" or "match" loads, at nominal speeds below 1,100 feet per second (340 m/s).
- Standard-velocity: 1,120–1,135 feet per second (341–346 m/s)
- High-velocity: 1,200–1,310 feet per second (370–400 m/s)
- Hyper-velocity, or Ultra-velocity: over 1,400 feet per second (430 m/s)
Subsonic


Subsonic rounds have a muzzle velocity of less than the speed of sound (about 1,080 ft/s or 330 m/s). These rounds are sometimes equipped with extra-heavy bullets of 46–61-grain (3.0–4.0 g) to improve the terminal ballistics of the slower projectile. Conversely, these rounds may contain little more than a primer and an extra-light bullet.
Subsonic rounds are favored by some shooters due to slightly superior accuracy and reduction in noise. Supersonic rounds produce a loud crack which can scare away animals when hunting. Accuracy is reportedly improved with subsonic rounds because a supersonic bullet (or projectile) that slows from supersonic to subsonic speed undergoes drastic aerodynamic changes in this transonic zone that might adversely affect the stability and accuracy of the bullet.[21]
Because the speed of sound in air at 68 °F (20 °C) is about 1,115 ft/s (340 m/s), the subsonic round's muzzle velocity is slightly below the speed of sound under many hunting conditions. However, under cold air conditions at 32 °F (0 °C), the speed of sound drops to 1,088 ft/s (332 m/s), approximately muzzle velocity. Hence, a "subsonic" round used below this temperature may be supersonic, and during the transition from supersonic to subsonic velocity, it may become unstable, reducing accuracy. To counteract this, some cartridge manufacturers have lowered the speed of their subsonic ammunition to 1,030 ft/s (310 m/s) or less.
Various combinations of subsonic rounds and semiautomatic .22 LR firearms result in unreliable cycling of the firearms' actions, as the result of insufficient recoil energy. Some subsonic rounds use heavier bullets (achieving lower velocities) to ensure, as a result of increased bullet mass, that enough energy is produced to cycle common blow-back actions.[22] As an example, the Aguila .22 LR SSS "Sniper SubSonic" round, has a 60 gr (3.9 g) bullet on a .22 short case, providing the cartridge the same overall dimensions as a .22 long rifle round. However, other problems may be encountered: the heavier and longer bullet of the Aguila cartridge requires a faster barrel twist (by the Greenhill formula) to ensure the bullet remains stable in flight.
Two performance classes of .22 rimfire subsonic rounds exist. Some subsonic rounds, such as various .22 short and .22 long "CB" rounds, give about 700 ft/s (210 m/s) velocity with a 29 gr (1.9 g) bullet providing relatively low impact energy (41 J at muzzle). These may not use any, or only small amounts of gunpowder, and have the characteristics of rounds intended only for indoor training or target practice rather than hunting. Where these are in .22 LR form, it is only to aid feeding in firearms designed for the cartridge, rather than older .22 CB shooting gallery rifles. The Aguila SSS gives about 950 ft/s (290 m/s) velocity with a 60-gr bullet offering energy (163 Joules) equivalent to many high velocity .22 long rifle rounds using standard 40-gr bullets. Other heavy-bullet subsonic rounds give similar performance, and are intended for hunting of small game, or control of dangerous animals, while avoiding excessive noise.
Standard velocity
The velocity of standard-velocity .22 LR rounds varies between manufacturers. Some standard velocity ammo may be slightly supersonic-around 1,125 ft/s (343 m/s), other ammo such as CCI Standard Velocity .22 LR ammunition is rated at 1,070 ft/s (330 m/s). Most standard velocity ammo has a bullet weight of 40 gr (2.6 g). Standard-velocity cartridges generate near or slightly supersonic velocities. These rounds generally do not develop these velocities in handguns because their short barrels do not take full advantage of the slower burning powder.[23]
High velocity

The .22 long rifle round was originally loaded with black powder. The first smokeless powder loads were intended to match the standard velocity of the original black-powder rounds. Smokeless powder is more efficient than black powder, and the cartridge cases could hold more powder. Smokeless powder loads, called "high speed" or "high velocity", were offered by the major ammunition makers, giving a typical velocity increase of 8% (1,200 feet per second (370 m/s) to 1,300 feet per second (400 m/s)) while still using the standard 40 gr (2.6 g) solid or 36 gr (2.3 g) hollow-point lead bullet.
Hyper-velocity
Many .22 LR cartridges use bullets lighter than the standard 40 gr (2.6 g), fired at even higher velocities. Hyper-velocity bullets usually weigh around 30 to 32 gr (1.9 to 2.1 g) and can have a muzzle velocity of 1,400 to 1,800 feet per second (430 to 550 m/s). This higher velocity is partially due to the use of lighter bullets.
The CCI Stinger was the first hyper-velocity .22 LR cartridge, and provided a significant increase in velocity and energy over standard rimfire rounds. The Stinger case is longer than that of the long rifle; about .702 in (17.8 mm) versus .613 in (15.6 mm) for the long rifle, but the plated hollow point bullet is lighter and shorter at 32 gr (2.1 g), giving the same overall length as the long rifle cartridge. This longer case can cause ejection problems in some guns. A powder with a slower burning rate is used to make the most use of the length of a rifle barrel. Most .22 long rifle powders increase velocity up to about 19 in (480 mm) of barrel. The powder used in the Stinger increases velocity up to the longest .22 barrel length tested by the NRA, 26 in (660 mm).[24]
Later hyper-velocity rounds were introduced by other makers, based on the long rifle case with lighter bullets in the 30-gr weight range and slow-burning rifle powder loadings. The overall length of many of these cartridges was less than the overall length of the standard 40-gr bullet long rifle cartridge. One example is the Remington Viper; another is the Federal Spitfire.
The CCI Velocitor hyper-velocity round uses the standard long rifle case size and a standard weight 40 gr (2.6 g) bullet of proprietary hollow-point design to augment expansion and trauma. This cartridge has a muzzle velocity of 1,435 ft/s (437 m/s) and matches the overall length of the standard long rifle cartridge.
Shot cartridges


Special .22 LR caliber shot cartridges, usually loaded with No. 12 shot, have also been made. These are often called "snake shot," "bird shot" and "rat-shot" due to their use in very short range pest control. Such rounds have either a longer brass case that is crimped closed, or a translucent plastic "bullet" that contains the shot and shatters upon firing.
Full metal jacket
During World War II, a full metal jacket bullet version of the .22 LR was developed as the T-42 for the suppressed High Standard HDM pistol.[25] The US Army Air Corps procured the Savage Model 24 .22 LR/.410 combination gun as an air crew survival weapon included in the E series of survival and sustenance kits, primarily to forage for game for food. The .22 LR full metal jacket bullet ammunition was issued with these firearms for military use to comply with treaty restrictions on expanding bullets.
The 1961 Army/Air Force Technical Manual/Order on ammunition lists three types of rimfire CARTRIDGE, CALIBER .22: Ball, Long Rifle:
- Long Rifle (Lead Bullet), propellant: 1.7 gr smokeless, bullet: 40 gr, overall length: 0.984 inches (25.0 mm).
- Long Rifle (Commercial), propellant: 2.1 gr smokeless, bullet: 40 gr, overall length: about 1 inch (25 mm).
- Long Rifle, M24 (Jacketed Bullet), propellant: 2.5 gr smokeless, bullet: 40.5 gr, overall length: 0.995 inches (25.3 mm).
The first type specifies standard or target velocity .22 LR while the second is common high velocity commercial ammo. While these soft lead round nose bullet types were suitable for training or target practice, they are not legal for use in a war zone. Since .22 LR air crew survival weapons would probably be used in a war zone and could be used for defense, the M24 round is loaded with a hard lead-antimony alloy core bullet with a gilding metal jacket.[26]
Tracer
Tracer ammunition is also available in .22 Long Rifle rimfire.[27]
Cartridge construction
The traditional .22 rimfire cartridges (BB, CB, short, long, extra long, and long rifle) differ in construction from more modern cartridges in the way the bullet is constructed and held in the case. Bullets for traditional .22 rimfires are the same outside diameter as the case but are constructed with a narrower cupped "heel" on the base of the bullet which is inserted into the case. The case mouth is then crimped around the heel, leaving exposed the majority of the bullet bearing surface that contacts the barrel of the gun. The bearing surface of .22 rimfire bullets is often lubricated and the surface is exposed to contamination. This was a common design in the early black powder cartridge era.
In later cartridges, including the .22 WRF and .22 WMR rimfires and modern centerfires, the bullet body is a uniform diameter and the bearing surface is inserted completely within the neck of the cartridge case, held in place by tension from the case neck around the bullet bearing surface (in some cartridges the case mouth may also be crimped into a cannelure (groove) in the bullet). The heeled bullet cartridge is considered weaker than the uniform diameter bullet cartridge which encloses the bearing surface of the bullet within the cartridge neck. Overall reliability of heeled bullet rimfire ammunition is high, but it is lower than the reliability of most centerfire ammunition.
Cartridge length

The .22 LR uses a straight-walled case. Depending upon the type and the feed mechanism employed, a firearm that is chambered for .22 LR may also be able to safely chamber and fire the following shorter rimfire cartridges:
- .22 BB, in cap, short, and long lengths
- .22 CB, in cap, short, long, and long rifle lengths
- .22 Short
- .22 Long
The .22 Long Rifle may also be used in firearms chambered for the obsolete .22 Extra Long.
Usage
Today, rimfire rounds are mainly used for hunting small pests, for sports shooting, for plinking, and for inexpensive training. The .22 LR is the choice for several shooting events: biathlon, bullseye, plus divisions of benchrest shooting, metallic silhouette and pin shooting, most high school, collegiate, Boy Scouts of America, Project Appleseed, 4H shooting events, and many others. It is also used in the precision Rifle and Pistol shooting events at the Olympic Games. Good quality rimfire ammunition can be quite accurate. The main advantages are low cost, low recoil, low noise and high accuracy-to-cost ratio. The main disadvantage is its low power; it is better suited for use on small game and other small animals.[28]
As a defensive cartridge, it is considered inadequate by many, though the small size allows very lightweight, easily concealable handguns which can be carried in circumstances where anything larger would be impractical. Despite their limitations, people can use .22 LR pistols and rifles for defense, and they are common simply because they are prevalent, inexpensive, and widely available.
Most semi-automatic rifles firing .22 LR cartridges will often only work properly when firing standard or high velocity rimfire ammunition, as the low recoil of subsonic rounds is insufficient to cycle the weapon's action. Rifles with manual actions do not have this problem. Due to the low bolt thrust of the .22 LR cartridge, most self-loading firearms chambered for the cartridge use the direct blowback operation system.
The tiny case of the .22 LR and the subsonic velocities (when using subsonic ammunition) make it well suited for use with a firearm suppressor (also known as silencers or sound moderators). The low volume of powder gases means that .22 LR suppressors are often no larger than a bull barrel; the Ruger 10/22 and Ruger MK II are common choices, because of their reliability and low cost, and the resulting product is often nearly indistinguishable from a bull barrel model (although weighing far less). Where firearm suppressors are only minimally restricted, a .22 LR firearm with a suppressor is often favored for plinking, as it does not require hearing protection or disturb the neighbors. Local government agencies sometimes use suppressed rimfire weapons for animal control, since dangerous animals or pests can be dispatched in populated areas without causing undue alarm.
The .22 LR has also seen limited usage by police and military snipers. Its main advantage in this role is its low noise, but it is usually limited to urban operations because of its short range.[29] One study suggests a single head/torso shot suffices, more often than not.[30] [31] [32]
The Israeli military used a suppressed .22 LR rifle in the 1990s for riot control and to "eliminate disturbing dogs prior to operations", though it is now used less often as it has been shown to be more lethal than previously suspected.[29] Some other examples include the use of suppressed High Standard HDM pistols by the American OSS, which was the predecessor organization of the CIA.[25] Francis Gary Powers was issued a suppressed High Standard for the flight in which he was shot down. Suppressed Ruger MK II pistols were used by the US Navy SEALs in the 1990s.[33]
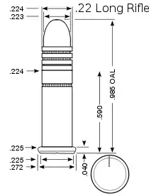
Cartridge dimensions


.22 long rifle maximum C.I.P. cartridge dimensions. All sizes in millimetres (mm).[34]
The common rifling twist rate for this cartridge is 406 mm (1:16 in), six grooves, land width = 2.16 mm, Ø lands = 5.38 mm, Ø grooves = 5.58 mm.
According to the official C.I.P. (Commission Internationale Permanente pour l'Epreuve des Armes à Feu Portatives) rulings the .22 long rifle can handle up to 170.00 MPa (24,656 psi) Pmax piezo pressure. In C.I.P. regulated countries every rifle cartridge combo has to be proofed at 125% of this maximum C.I.P. pressure to certify for sale to consumers.
Because the .22 long rifle round commonly uses a heeled lead or lightly plated bullet, the nominal bullet diameter is larger than the nominal bore diameter to prevent excessive lead fouling that can occur when shooting lead bullets that are the same or slightly smaller than the groove diameter. SAAMI specifies a nominal bullet diameter of 0.2255 with a tolerance of -0.004, while the specified bore diameter is 0.222.[35] In practice, 0.224 or slightly larger bullets are common, with barrel groove diameters commonly around 0.223.
Muzzle velocity (nominal)
- 40-grain (2.6 g) lead: 1,082 ft/s (330 m/s) .22 LR subsonic
- 36-grain (2.3 g) copper plated lead: 1,328 ft/s (405 m/s) .22 LR high velocity
- 32-grain (2.1 g) copper plated lead: 1,640 ft/s (500 m/s) .22 LR hyper-velocity CCI Stinger
Note: actual velocities are dependent on many factors, such as barrel length of a given firearm and manufacturer of a given batch of ammunition, and will vary widely in practice. The above velocities are typical.
See also
References
- 1 2 3 4 5 6 7 8 9 10 11 SAAMI/ANZI. "American National Standard Z299.1-1992." SAAMI (Newtown, Connecticut USA) November 24, 1992.
- 1 2 3 4 "Federal Cartridge Co". Archived from the original on September 27, 2007. Retrieved September 25, 2007.
- 1 2 3 Simpson, Rich. "Remove pesky rodents with sure-shot rimfire rifles". Times-News (Twin Falls, Idaho, USA) March 28, 2008.
- ↑ Capt. Nick [Morton] (April 22, 2020). "Let's talk about … ammunition". Campbell College Combined Cadet Force. Archived from the original on March 28, 2023. Retrieved July 27, 2022.
- ↑ Bartocci, Christopher R. (July 18, 2014). "Conversion in .22 Long Rifle for the Black Rifle: Part 1". SmallArmsReview. Archived from the original on September 21, 2021. Retrieved July 27, 2022.
- ↑ Kokalis, Peter (January 2001). Weapons Tests and Evaluations: The Best of Soldier of Fortune. Paladin Press (published 2001). p. 331. ISBN 978-1-58160-122-0.
- ↑ Ava Flanell. "History of .22". smith-wesson.com. Archived from the original on May 19, 2022. Retrieved December 10, 2022.
- ↑ BOY SCOUTS OF AMERICA NATIONAL SHOOTING SPORTS MANUAL (PDF). BOY SCOUTS OF AMERICA. 2015. p. 12. ISBN 978-0-8395-0004-9. Archived (PDF) from the original on April 11, 2018. Retrieved April 11, 2018.
- ↑ "Top 5 .22 Long Rifle Loads". Americanhunter.org. Archived from the original on January 25, 2018. Retrieved April 11, 2018.
- ↑ Forensic Analysis: Weighing Bullet Lead Evidence. Board on Chemical Sciences and Technology. 2004. doi:10.17226/10924. ISBN 978-0-309-09079-7. Archived from the original on March 3, 2009. Retrieved September 9, 2007.
- ↑ Simpson, Layne. "Rimfire Hunting Cartridges". Petersen's Hunting. Archived from the original on June 16, 2009. Retrieved September 9, 2007.
- ↑ Grant, Jim (January 18, 2017). "Top 3 Calibers To Stock In 2017". Shooting Sports Retailer. Archived from the original on October 4, 2018. Retrieved December 12, 2018.
- 1 2 "Hornady's New .17 Mach 2". Archived from the original on September 29, 2007. Retrieved September 25, 2007.
- ↑ Massaro, Philip (April 17, 2016). "Top 5 .22 Long Rifle Loads". American Hunter. Archived from the original on January 25, 2018. Retrieved January 25, 2018.
- ↑ Johnson, M.D. (October 19, 2012). ".22LR: The Best Survival Ammunition?". GunDigest.com. Archived from the original on January 25, 2018. Retrieved January 25, 2017.
- ↑ "Best .22LR Rifles For Hunting Small Game & Survival: Rimfire Rifle Reviews". WildernessToday.com. Archived from the original on January 25, 2018. Retrieved January 25, 2018.
- ↑ Fredrickson, Terry (March 26, 2013). "Elephant killing probe heats up". Bangkok Post. Archived from the original on January 10, 2020. Retrieved January 16, 2020.
- ↑ "17 HMR vs 22 LR: The Ultimate Battle and Which is Better!". Patriotic Hunter. December 17, 2018. Archived from the original on February 15, 2019. Retrieved February 14, 2019.
- ↑ Fadala, Sam (1989). The Book of the Twenty-Two (1 ed.). South Hackensack, New Jersey: Stoeger Publishing Company. p. 249. ISBN 978-0-88317-149-3.
After the bullet glanced off of the water, its remaining velocity was 1195 fps. Only 43 fps were lost... The missile remains lethal after a ricochet.
- ↑ "Range of a Handgun Bullet". The Physics Handbook. Archived from the original on April 3, 2019. Retrieved February 3, 2019.
- ↑ Strickland, Jeffrey (2014). Handbook of Handguns. [S.l.]: LULU COM. p. 206. ISBN 9781300973294. OCLC 1020871429.
- ↑ "The Pros and Cons of Subsonic Cartridges". Fieldandstream.com. Archived from the original on September 19, 2018. Retrieved April 11, 2018.
- ↑ ".22 Long Rifle - Close Focus Research - Ballistic Testing Services". Closefocusresearch.com. Archived from the original on July 1, 2016. Retrieved January 21, 2018.
- ↑ Stinger - Rimfire Research & Development. "Rimfire Research & Development". Archived from the original on February 23, 2017. Retrieved July 10, 2016.
- 1 2 Kokalis, P. G (August 2002). "OSS Silenced Pistol" (PDF). The Small Arms Review. 5 (11). Archived from the original (PDF) on April 19, 2009. Retrieved August 25, 2009.
- ↑ Army Tech Manual TM9-1305-200 / Air Force Tech Order TO 11A13-1-101 June 1961
- ↑ Dan Shideler (September 15, 2010). The Greatest Guns of Gun Digest. Krause Publications. p. 148. ISBN 978-1-4402-1414-1. Archived from the original on April 21, 2017. Retrieved December 12, 2018.
- ↑ "Federal Premium: Ballistics Detail". Archived from the original on September 27, 2007. Retrieved September 25, 2007.
- 1 2 "Ruger 10/22 Suppressed Sniper Rifle". Archived from the original on October 19, 2014. Retrieved October 10, 2014.
- ↑ Ellifritz, Greg (July 8, 2011). "An Alternate Look at Handgun Stopping Power". Buckeye Firearms. Active Response Training. Archived from the original on October 28, 2023.
- ↑ Why A .22 LR Pocket Gun Should Not Be Underestimated Archived 2 August 2023 at the Wayback Machine
- ↑ Why A .22 LR Pocket Gun Should Not Be Underestimated Video Archived 30 March 2023 at the Wayback Machine
- ↑ Warner, Ken (1993). Gun Digest (47 ed.). Iola, Wisconsin: DBI Books. p. 48. ISBN 978-0-87349-131-0.
From the Mossad (Israel's intelligence agency) to US Navy SEALs, the silenced Ruger is now reported the favored tool for clandestine operations.
- ↑ "C.I.P. TDCC datasheet .22 Long Rifle" (PDF). Archived (PDF) from the original on July 13, 2018. Retrieved December 12, 2018.
- ↑ .22 LR SAAMI specification (PDF), archived from the original (PDF) on August 24, 2015, retrieved June 5, 2014
